- Beglazingsartikelen
- Beschermkappen,stofkappen, afdekkappen, moerkappen
- Afdekkappen, snapkappen en snapringen
- Bescherm-, stof-kappen / pluggen / Speciedeksels
- Beschermhoeken
- Moerkappen
- Rozetringen en kappen
- Bevestigingsmaterialen, (buis)verbinders
- Afdekkappen en snapkappen
- Afstandszadels
- Buis-, hoekverbinders
- Draadstangen
- Druknagels
- Inslagmoeren, draadbussen
- Isoleerbussen, lagerbussen
- Kunststof schroeven, bouten en moeren
- Moerkappen en facadekappen
- Montageprofielen
- Pijpbeugels
- Ringen antiverlies, afdicht,fixeer,borg en rozet
- Sluitringen, afstandsbussen
- Buffers, zuignappen
- Hekwerktoebehoren
- Buisverbinders
- Doppen
- Spandraadhouders
- Insteekdoppen, moerdoppen
- Driehoekig
- Metalen kap / glijvlak
- Moerdoppen hoge belasting / Lasplaatjes
- Lasplaatjes RVS
- Moerdoppen metaal, alloy of RVS
- Moerdoppen PA GLV v.v. draadbus
- Moerdoppen v.v. draad / draadbus / moer
- Ovaal, elips en tunnel
- Rechthoekig
- Rond
- Schuine plaatsing rond, ovaal, rechthoekig
- Justeerdoppen, stelvoeten, kogelvloerdoppen
- Hoogteverstellingen
- Justeerdoppen
- Kogelvloerdoppen
- Kogelvloerschotels
- Stelspanvoeten
- Stelvoeten
- Stelvoeten metaal
- Kabeltules, kabeldoorvoeren
- Kabeldoorvoeren
- Kabeltules
- Meubelbeslag, scharnieren (PA)
- Buisdragers
- Exenter
- Ophangrondjes
- Plankdragers
- Scharnieren(PA)
- Wandhouders, hoekverbindingen
- Omsteekdoppen, kappen, handvatten en profieldoppen
- Dompeldoppen PVC / Handvatten
- Meubelonderzetters
- Omdoppen, eind- / pootdoppen
- Ring-, profieldkappen
- Silicoonkappen hittebestendig
- Sleebuis-, meubel-, clubglijders, kruispootdoppen
- Clubglijders
- Glijders met nagel
- Klemprofielen, beschermstrips, stootstrips
- Kruispootdoppen
- Meubelglijders, glijdoppen
- Sleebuisglijders
- Zelfklevende art., bumperstops, vilt/antislip
- BumperFlex PU Tape op rol
- Bumperstops PUR buffers
- Teflon glijders
- Vilt-, antislipschijfjes
- Zwenk-, en meubelwielen en glijders
- Meubelglijders
- Meubelwielen
- Zwenkwielen
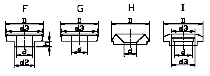
Snapring PA vlak
productgroep code: 415035.
[ gerelateerde producten ]| Artikelcode | D | d | H | Type | | | | | |
|---|
| 415035.085032030.004 | 8,5 | 3,2 | 3,0 | G | naturel | | | | |
| 415035.108032030.004 | 10,8 | 3,2 | 3,0 | H | naturel | | | | |
| 415035.108042050.004 | 10,8 | 4,2 | 5,4 | F | naturel | | | | |
| 415035.108043030.004 | 10,8 | 4,2 | 3,0 | G | naturel | | | | |
| 415035.120050000.004 | 12,0 | 5,0 | 4,0 | F | naturel | | | | |
| 415035.120050030.004 | 12,8 | 5,0 | 3,0 | I | naturel | | | | |
| 415035.128043030.004 | 12,8 | 4,3 | 3,0 | H | naturel | | | | |
| 415035.128052050.004 | 12,8 | 5,2 | 5,4 | F | naturel | | | | |
| 415035.128053030.004 | 12,8 | 5,2 | 3,0 | G | naturel | | | | |
| 415035.148053030.004 | 14,8 | 5,3 | 3,0 | H | naturel | | | | |
| 415035.148062050.004 | 14,8 | 6,2 | 5,4 | F | naturel | | | | |
| 415035.148064030.004 | 14,8 | 6,4 | 3,0 | G | naturel | | | | |
| 415035.170060058.004 | 17,0 | 6,0 | 5,8 | F | naturel | | | | |
| 415035.188064040.004 | 18,8 | 6,4 | 3,0 | H | naturel | | | | |
| 415035.188083080.004 | 18,8 | 8,3 | 8,0 | F | naturel | | | | |
| 415035.188084040.004 | 18,8 | 8,4 | 4,0 | G | naturel | | | | |
| 415035.242105040.004 | 24,2 | 10,5 | 4,0 | G | naturel | | | | |
| 415035.242105080.004 | 24,2 | 10,5 | 8,0 | F | naturel | | | | |